取消
加载中...
苹果公开新专利,有望使iPhone/iPad支持VR显示
大鹏 2021-05-12 16:25

来源:IT之家


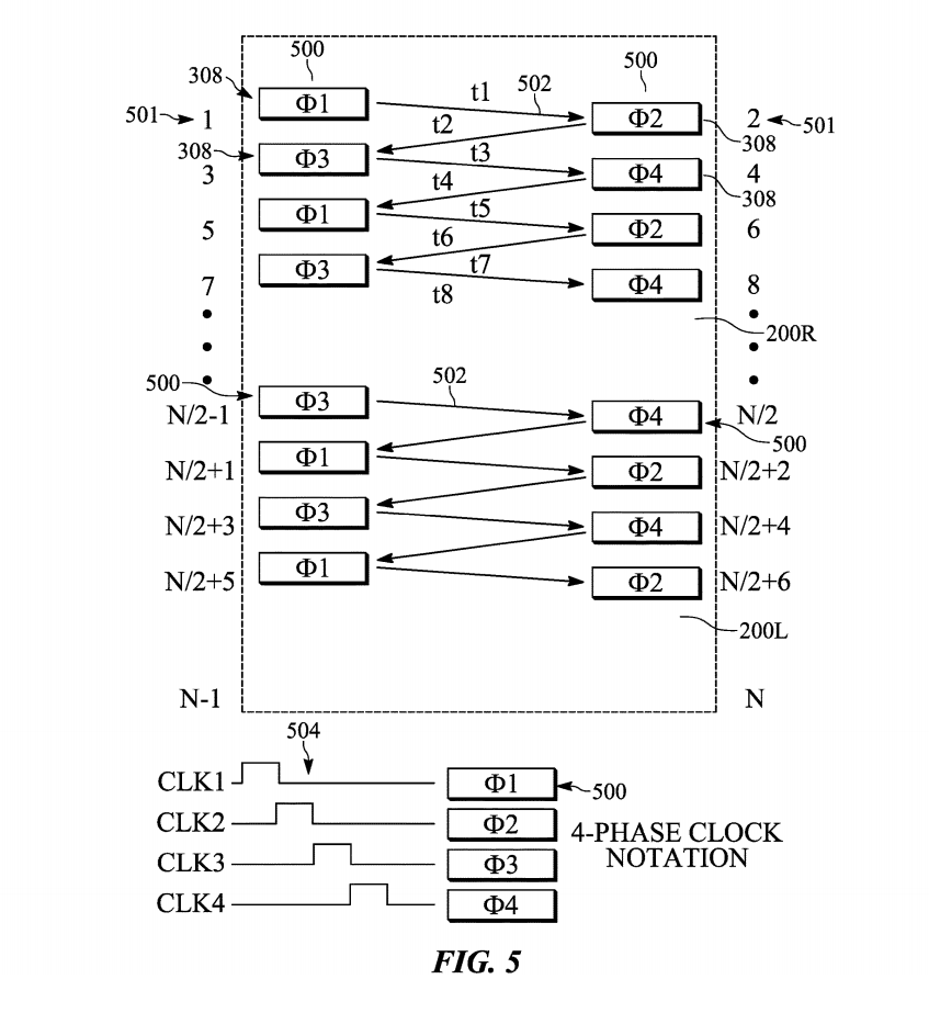
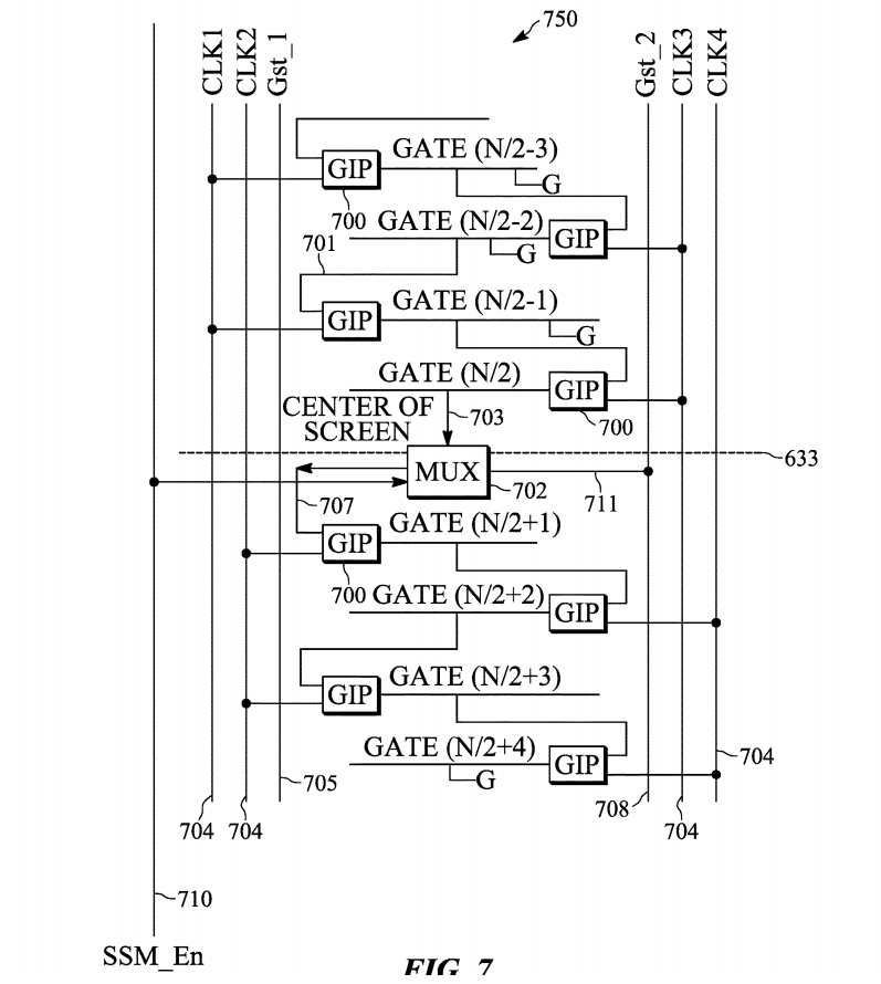
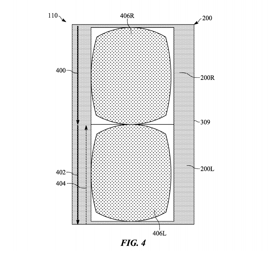
三言财经5月12日消息,根据 Phonearena 消息,苹果近期的一项发明专利成功通过了申请,被美国专利与商标局公开。该专利的名称为“电子产品显示设备分割屏幕显示驱动技术”,展现了将设备屏幕分为两部分,分别进行独立驱动的方法。该专利有利于解决屏幕驱动的延迟、拖影等问题,提供更流畅的 3D VR 画面。



在这项专利中,苹果表示使用红蓝、偏振光眼镜观看 3D 电影,很难避免伪像问题,甚至会导致观看者产生眩晕的感觉。在手机或平板电脑上显示 3D 内容非常困难,但苹果公司克服了挑战,能够使得不佩戴 3D 眼镜的情况下,在 iPad、iPhone 上观看 3D VR 画面。


该专利从硬件驱动层面上对屏幕的两半部分分别进行控制。并制定了相关的控制信号以及电路。这样能够加快左右眼画面的响应时间,减少拖影、闪烁等问题。


这种方式能够使得屏幕的两部分同时输出相近的画面,将设备放入 VR 装置中,分别观看两幅画面,即可得到 3D 效果。专利中未描述具体需要哪种辅助设备进行 VR 视频显示。



IT之家获悉,相比于这项发明专利,有传言称苹果下一代 iPhone 有望配额比 120Hz 高刷新率屏幕,为游戏和操作带来更加顺滑的效果。另外,苹果折叠屏 iPhone 有望于 2023 年正式推出。


大鹏
文章总数
3285