每日优鲜再被执行524万
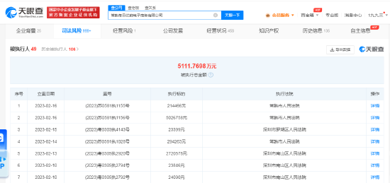
三言科技 2月17日消息,天眼查App显示,2月16日,常熟每日优鲜电子商务有限公司新增两则被执行人信息,执行标的合计524万余元,其中一则被执行人还包括北京每日优鲜电子商务有限公司,执行法院均为常熟市人民法院。目前,常熟每日优鲜电子商务有限公司存在多条被执行人信息及限制消费令,被执行总金额超5111万。
三言科技 2月17日消息,天眼查App显示,2月16日,常熟每日优鲜电子商务有限公司新增两则被执行人信息,执行标的合计524万余元,其中一则被执行人还包括北京每日优鲜电子商务有限公司,执行法院均为常熟市人民法院。目前,常熟每日优鲜电子商务有限公司存在多条被执行人信息及限制消费令,被执行总金额超5111万。