取消
加载中...
万达集团所持80亿股权再遭冻结
Feng 2025-09-28 15:32

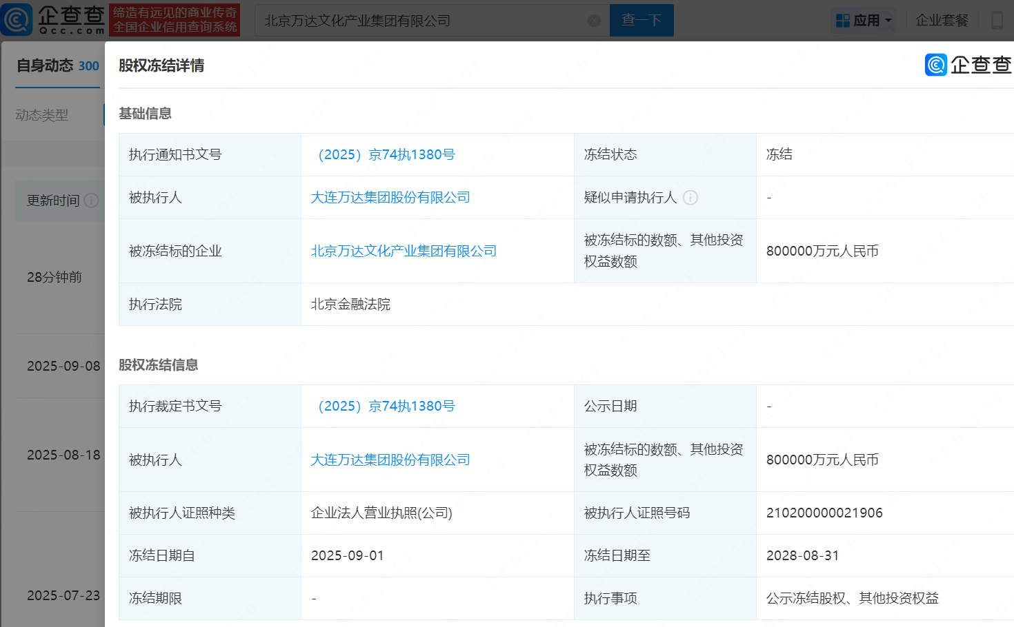
企查查APP显示,近日,北京万达文化产业集团有限公司新增1条股权冻结信息,被执行人为大连万达集团股份有限公司,冻结股权数额为80亿元,冻结期限为2025年9月1日至2028年8月31日,执行法院为北京金融法院。今年3月,北京万达文化产业集团已被冻结80亿元,冻结期限为2025年3月18日至2028年3月17日,执行法院为河南省郑州市中级人民法院。企查查信息显示,北京万达文化产业集团有限公司成立于2012年9月,法定代表人张春远,注册资本80亿元,由大连万达集团股份有限公司全资持股。


微信图片_20250928125226_104_23.png


Feng
文章总数
7489