取消
加载中...
沪江网约257万股权遭冻结 冻结期3年
2020-02-13 15:14

三言财经2月13日消息,,天眼查数据显示,近日,上海佳课教育科技有限公司新增司法协助协议,其大股东沪江教育科技(上海)股份有限公司价值257.3万人民币的股权、其它投资权益遭到冻结,执行法院为上海市浦东新区人民法院,冻结期限自2020年2月11日至2023年2月10日。


  

数据显示,沪江教育科技(上海)股份有限公司为沪江网的运营主体,成立于2009年3月,注册资本5亿人民币,法定代表人为宋相伟,公司经营范围包括教育科技领域内的技术开发、技术服务、技术咨询、技术转让等。


  

天眼查股东信息显示,沪江网的股东中,包括沪江网创始人伏彩瑞为实际控制人的上海互捷企业管理咨询合伙企业(有限合伙)(原名:上海互捷企业管理咨询合伙企业(有限合伙))、涌金系陈金霞、北京百度网讯科技有限公司等。




招股书显示,沪江在2015、2016、2017年的亏损分别为2.80亿元、4.22亿元、5.37亿元。


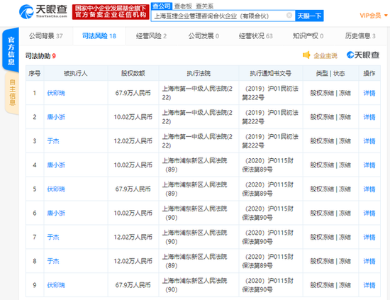
2019年11月20日,上海互捷企业管理咨询合伙企业(有限合伙)被上海市第一中级人民法院列为被执行人,执行标的约1.44亿元。此外,该公司也有多条司法协助信息,其中伏彩瑞有多条股权冻结信息。

文章总数