取消
加载中...
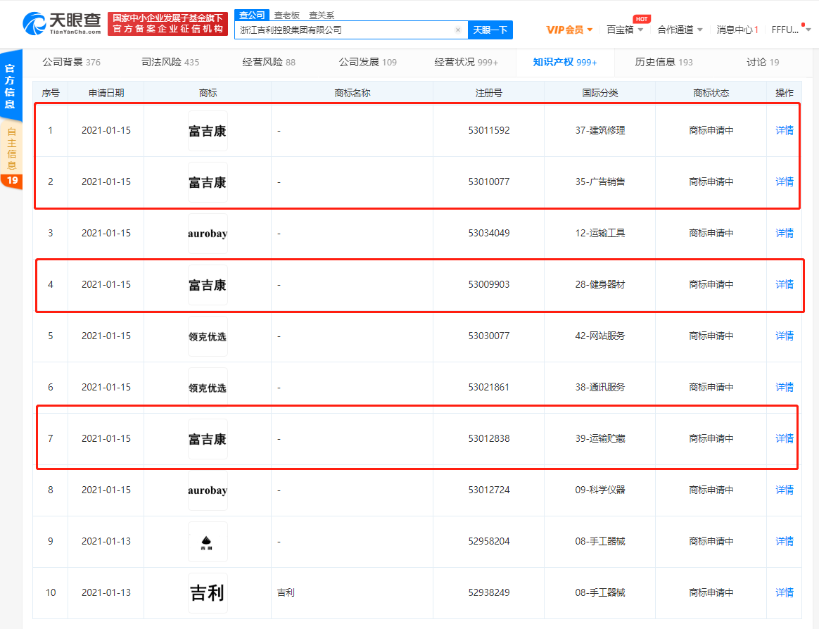
吉利关联公司申请注册“富吉康”商标
2021-01-20 18:00:27

分享

三言财经 1月20日消息,天眼查App显示,近日,浙江吉利控股集团有限公司申请注册了名为“富吉康”的商标,国际分类涉及广告销售、健身器材、建筑修理、运输贮藏等。


v2_dcab081968894ea180a6f19682914c4d_img_png.png