取消
加载中...
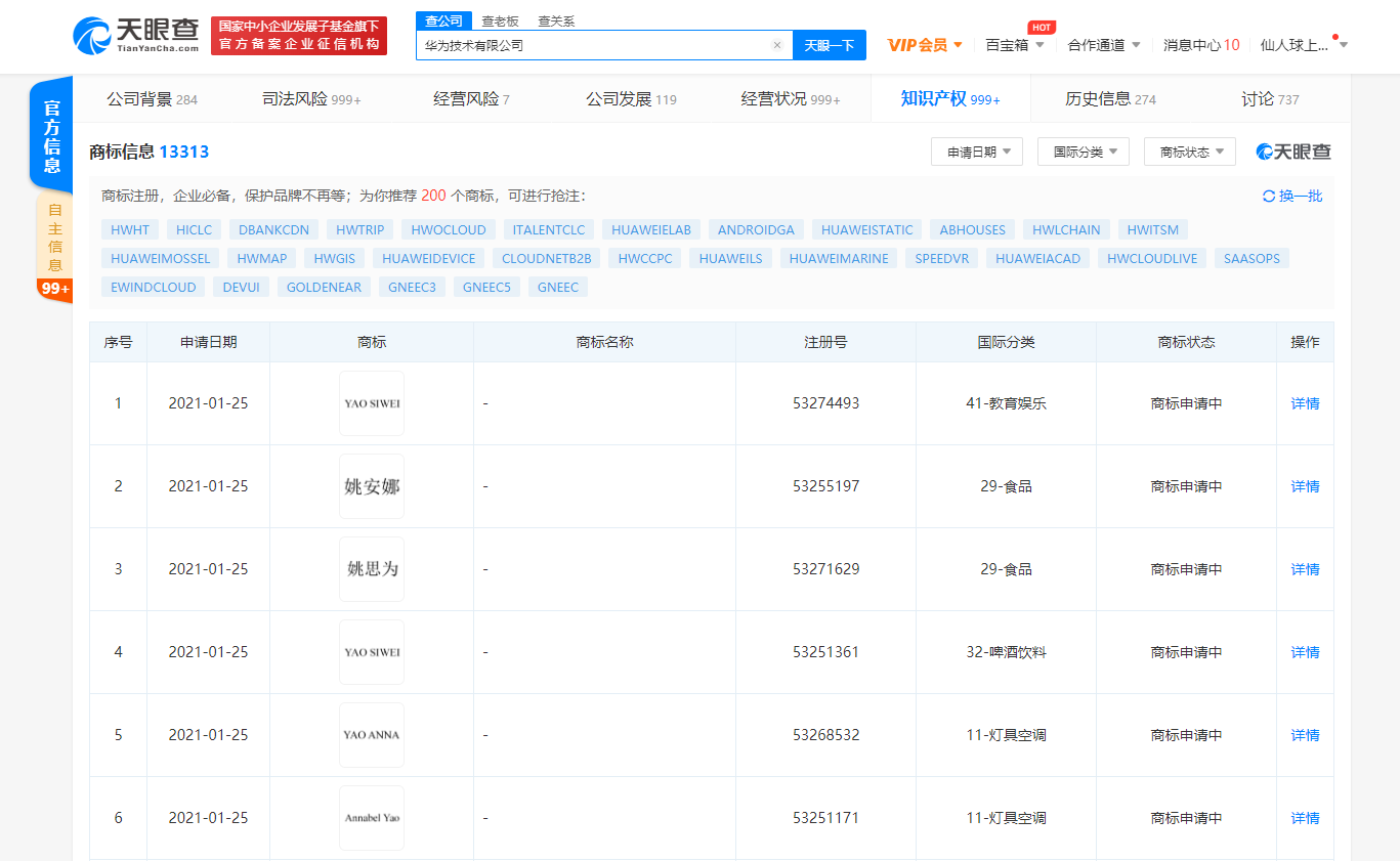
华为技术有限公司申请注册“姚安娜”“姚思为”等商标
2021-02-02 10:43:07

分享

v2_39e9ee5f98584177aa607b842fcc7825_img_jpg.png

三言财经2月2日消息,近日,天眼查App显示,华为技术有限公司新增多条“姚安娜”“姚思为”“YAO ANNA”“YAO SIWEI”“Annalbel Yao”的商标信息,国际分类涉及教育娱乐、机械设备、科学仪器等,申请日期为2021年1月25日,目前商标状态显示为“商标申请中”。