取消
加载中...
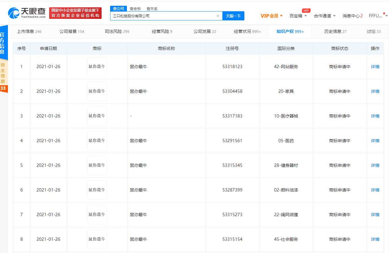
三只松鼠申请注册“鼠你最牛”商标
2021-02-04 14:06:27

分享

v2_3801eb5a2a124fa8855b88e9b2379876_img_png.png

三言财经2月4日消息,天眼查App显示,近日,三只松鼠股份有限公司新增多条“鼠你最牛”商标申请信息,国际分类涉及方便食品、颜料油漆、地毯席垫等,申请日期为2021年1月26日,目前商标状态显示为“商标申请中”。