取消
加载中...
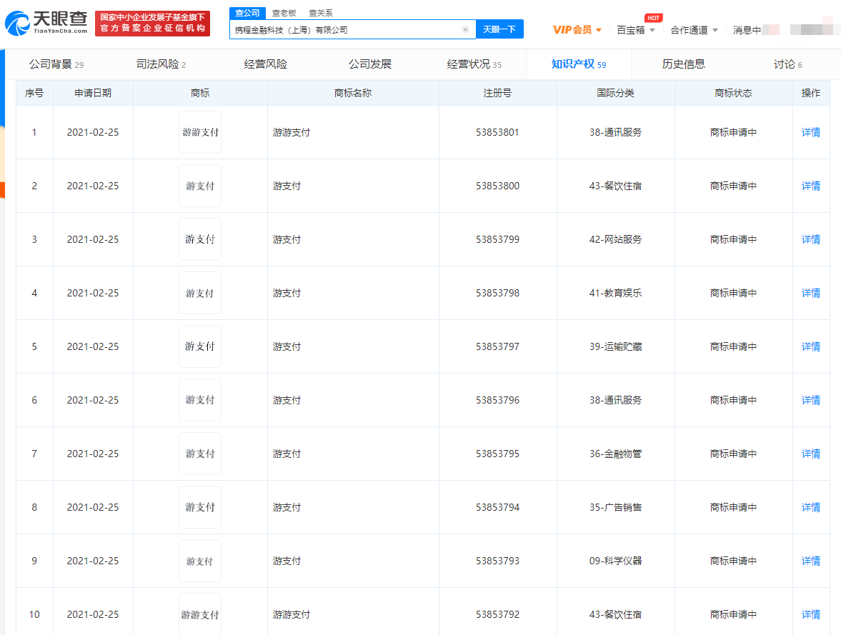
携程关联公司申请注册“游支付”、“程支付”等商标
2021-03-04 18:01:37

分享

三言财经 3月4日消息,据天眼查App显示,近日,携程金融科技(上海)有限公司申请注册“游支付”、“游游支付”商标,申请日期为2021年2月,国际分类涉及通讯服务、金融物管、餐饮住宿、教育娱乐等。

 

1614852058(1).jpg