取消
加载中...
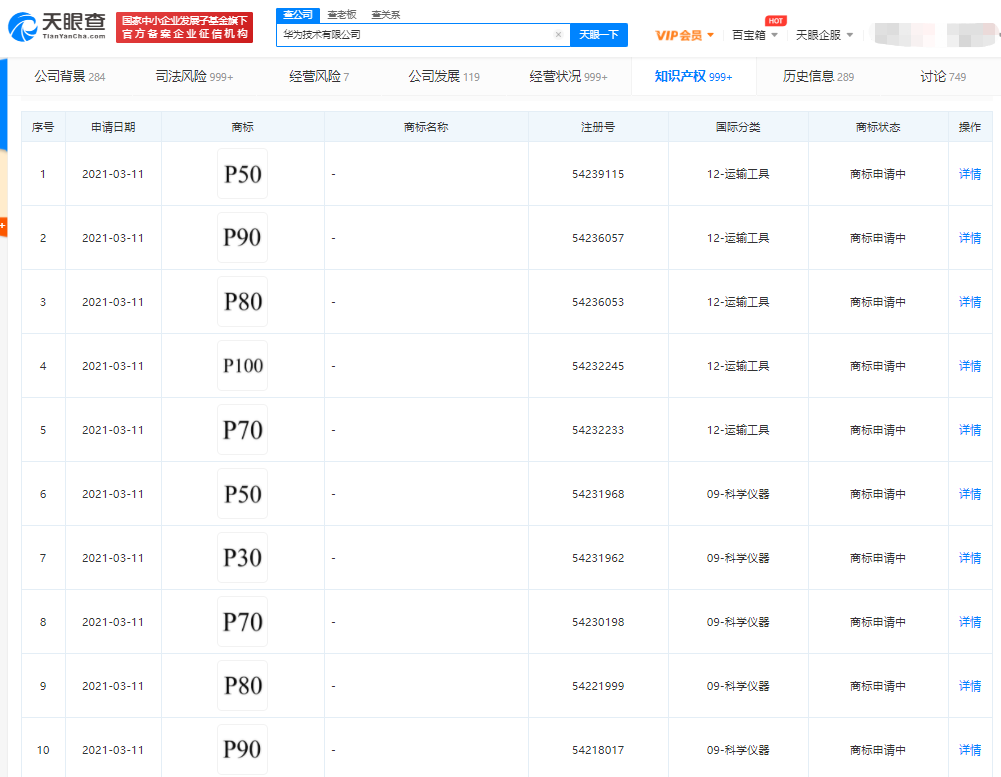
华为手机商标已申请注册至P100 状态为“商标申请中”
2021-03-17 16:49:16

分享

三言财经 3月17日消息,天眼查App显示,近日,华为技术有限公司申请注册“P50”、“P60”、“P70”、“P80”、“P90”、“P100”等商标,国际分类涉及科学仪器、运输工具,商标状态为“商标申请中”。

 

1615970836(1).jpg