取消
加载中...
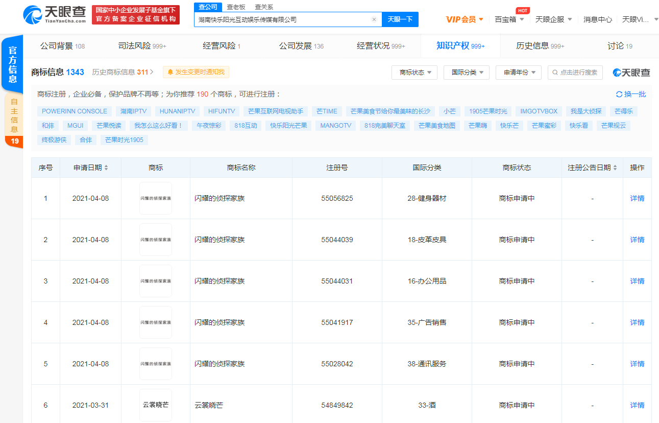
芒果TV关联公司注册“闪耀的侦探家族”商标
2021-04-16 18:15:43

分享

v2_ed537b08fcb0479b981eff17cefd9c8e_img_png.png

三言财经4月16日消息,天眼查App显示,近日,芒果TV关联公司湖南快乐阳光互动娱乐传媒有限公司申请注册“闪耀的侦探家族”商标,国际分类涉及健身器材、皮革皮具、办公用品等,商标状态均为“商标申请中”。