取消
加载中...
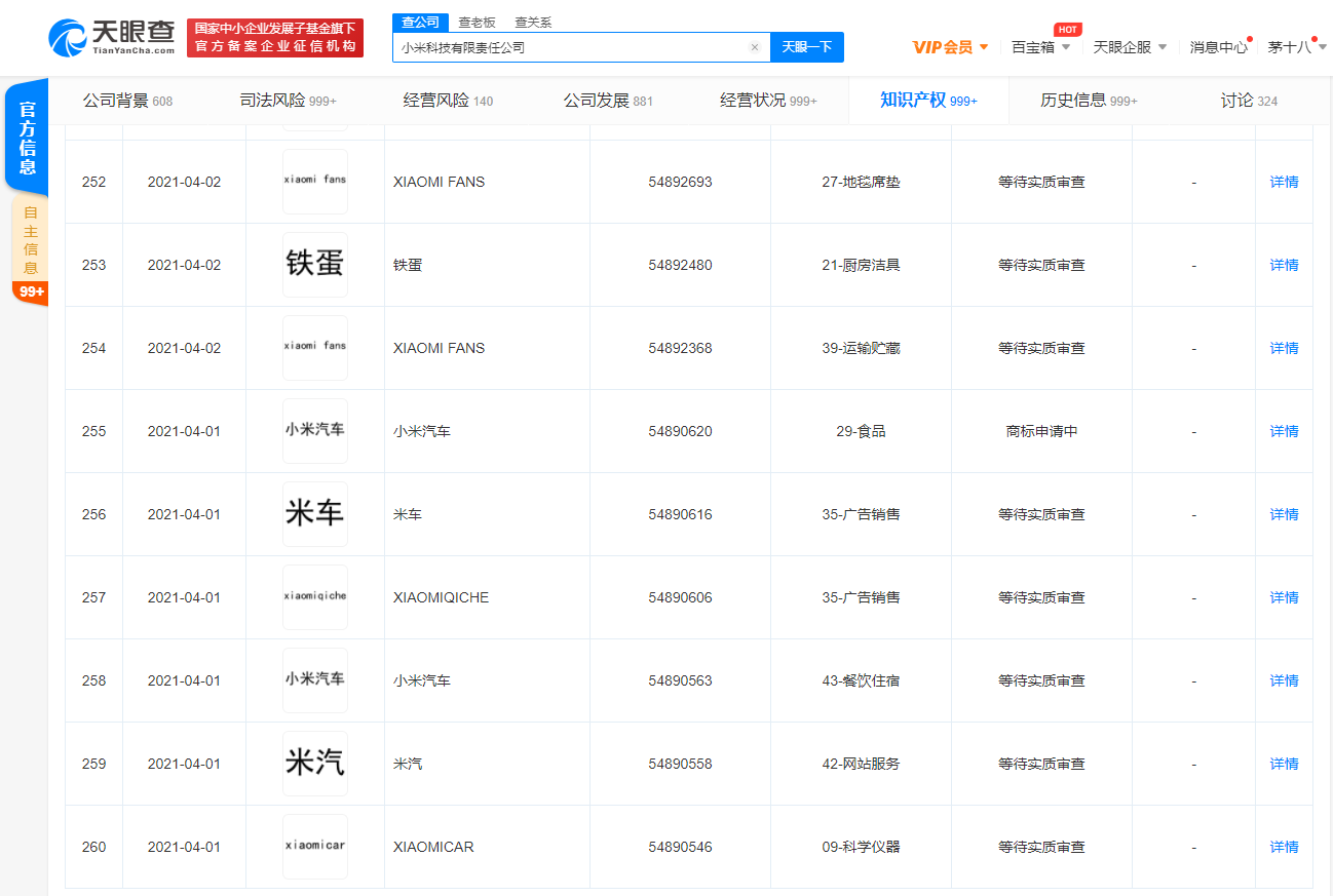
小米注册多个米汽商标
2021-04-26 10:58:36

分享

v2_7b103831ab754be0af15bc9c6cc7aa2e_img_png.png

三言财经4月26日消息,天眼查App显示,近日,小米科技有限责任公司申请注册多个“米汽”商标,国际分类包含网站服务,广告销售,运输工具等,目前商标状态多为等待实质审核。值得注意的是,同时,小米科技有限责任公司还申请注册“米车”“小米汽车”“xiaomicar”等商标。