取消
加载中...
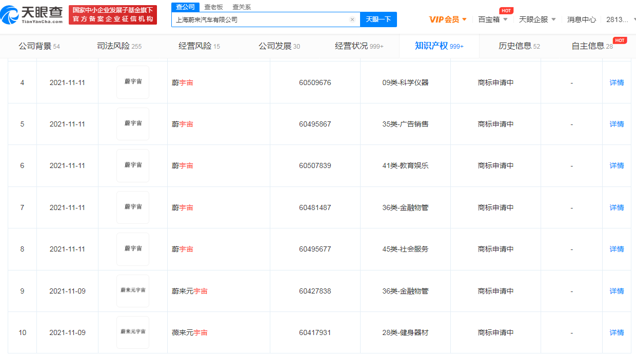
蔚来汽车申请元宇宙商标
2021-11-19 15:22:47

分享

v2_cc899f9a2a8c4c4dbaf49fc9a54e1893_img_png.png

三言财经11月19日消息,据天眼查App显示,近日,上海蔚来汽车有限公司申请注册多个“蔚来元宇宙”“蔚宇宙”商标,国际分类涉及运输工具、网站服务等,当前商标状态均为申请中。此前理想汽车、小鹏汽车、上汽集团也先后申请注册“理想元宇宙”“小鹏元宇宙”“车元宇宙”等商标,当前此类商标状态多为“等待实质审查”。