取消
加载中...
易烊千玺公司成功注册玊尔商标
2021-11-29 13:04:53

分享

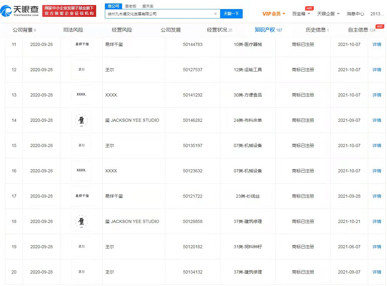
三言财经 11月29日消息,天眼查App显示,近日,易烊千玺关联公司徐州九木德文化发展有限公司申请的多个“易烊千玺”“玊尔”“XXXX.”“玺 JACKSON YEE STUDIO”商标已成功注册,相关商标申请于2020年9月,国际分类涉及广告销售、服装鞋帽、食品、教育娱乐等。


WechatIMG31397.jpeg


据悉,“玊尔”为易烊千玺2019年演唱会主题,“XXXX.”则为其身份标识。