取消
加载中...
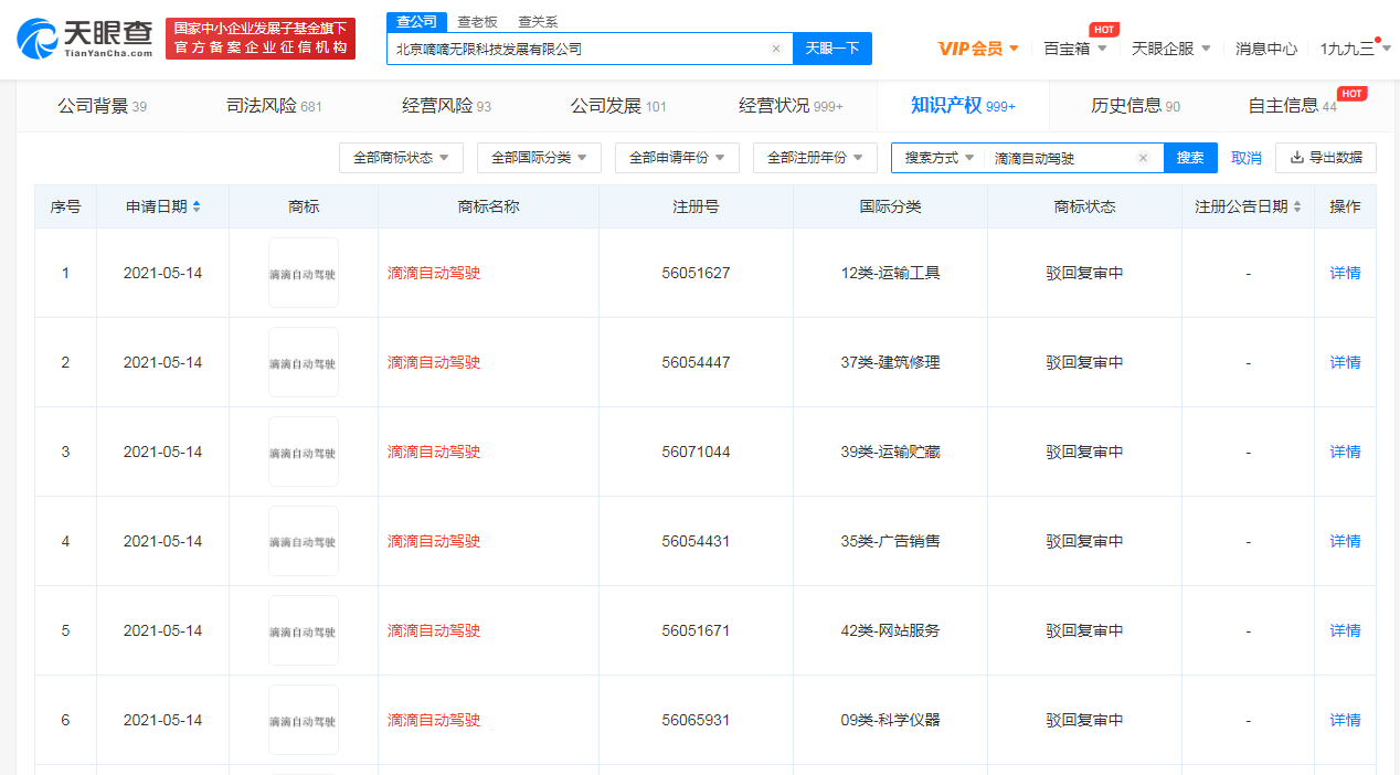
滴滴自动驾驶商标被驳回
2022-01-04 16:05:43

分享

v2_b00a413370cf48b7994173d343b380a5_img_png.png

三言财经1月4日消息,天眼查App显示,近日,北京嘀嘀无限科技发展有限公司申请注册的多个“滴滴自动驾驶”商标,状态变更为“驳回复审中 ”,被驳回商标均申请注册于2021年5月,国际分类包括运输工具、科学仪器、广告销售等。