取消
加载中...
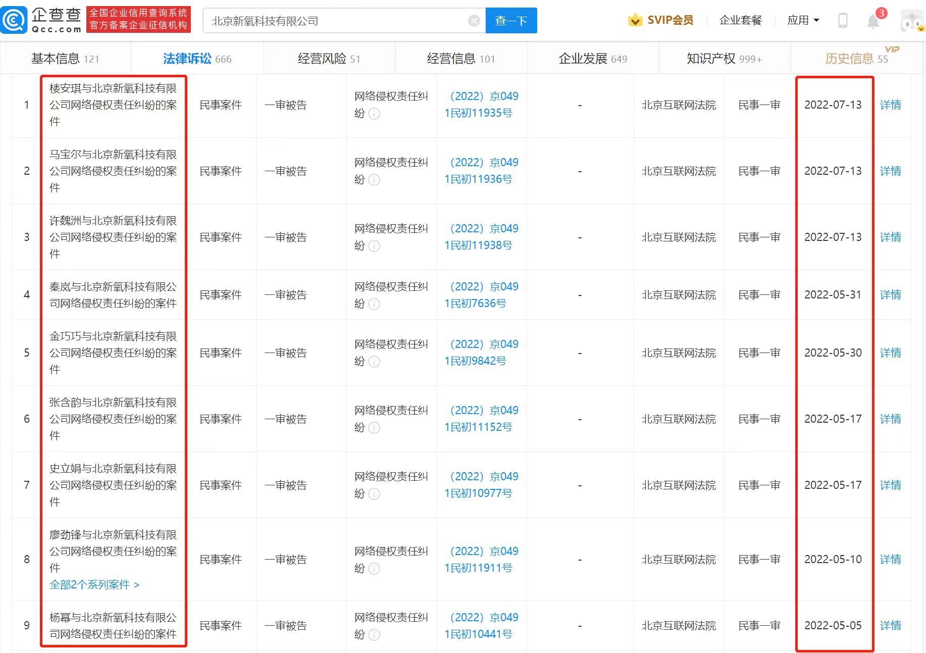
新氧医美被近百位明星起诉
2022-05-23 14:04:44

分享

三言财经  5月23日消息,企查查APP显示,近日,北京新氧科技有限公司新增多条网络侵权责任纠纷案件,原告方包括:杨幂、秦岚、许魏洲、蒋勤勤、张含韵、金巧巧等明星。据不完全统计,自2016年10月以来,共有90余位明星因“网络侵权责任纠纷、肖像权纠纷”起诉新氧医美,除上述明星外,还有鹿晗、华晨宇、鞠婧祎、岳云鹏等明星在列。企查查显示,新氧公司成立于2013年11月,2019年在美上市,成为国内“互联网医美平台”第一股。


WechatIMG7349.jpeg