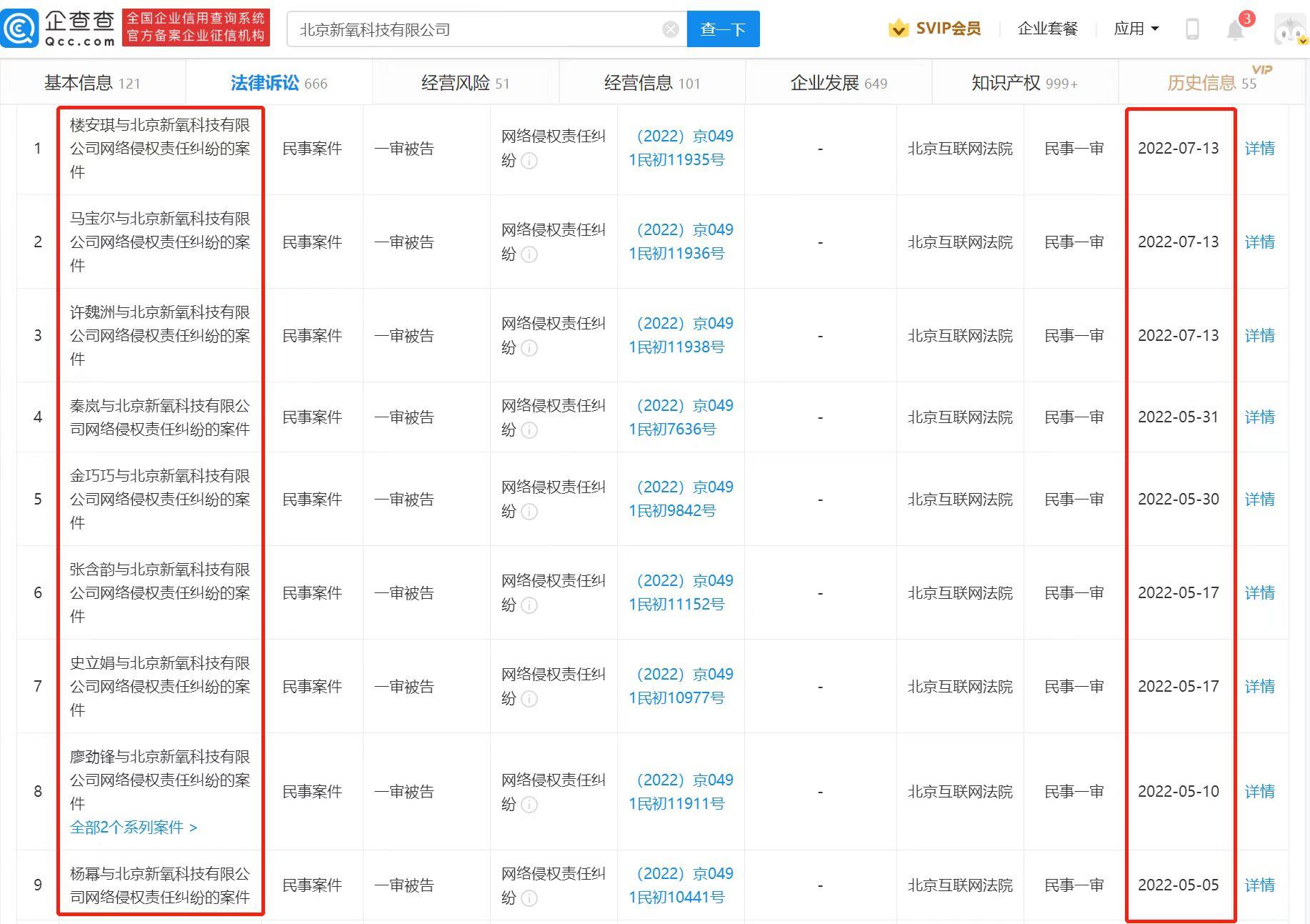
三言财经 5月23日消息,今日有消息称,近日,北京新氧科技有限公司新增多条网络侵权责任纠纷案件,原告方包括:杨幂、秦岚、许魏洲、蒋勤勤、张含韵、金巧巧等明星。

对此,新氧方面回应称,上述网络侵权责任纠纷涉及的争议均来自于发布在去年10月份之前的内容。在2021年10月,新氧已经针对类似的诉讼发布了公开声明:我们会与当事人积极沟通并和解,并将全力配合北京互联网法院的相关工作。
新氧表示,从去年10月开始,新氧内部就开展了积极的整改:我们主动关注并拥抱正能量,围绕目前的轻医美趋势,对消费者进行科普,从而让消费者进行更为科学的决策。同时,坚持输出专业内容,积极做好医美消费预警,传递理性的医美消费观。 目前,新氧自媒体大号和矩阵号的内容整改方向均已落地,感谢社会各界和媒体对我们的监督。