取消
加载中...
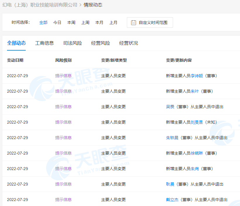
B站关联培训公司发生工商变更 原董事均退出
2022-07-29 13:22:54

分享

三言财经 7月29日消息,天眼查App显示,近日,幻电(上海)职业技能培训有限公司发生工商变更,原董事耿晨、戴立杰等4人均退出,新增董事李诗颖、朱尧等4人。幻电(上海)职业技能培训有限公司成立于2020年12月,法定代表人及董事长为郑彬炜,注册资本300万人民币,由香港幻电有限公司全资控股。


1659072129364.jpg