取消
加载中...
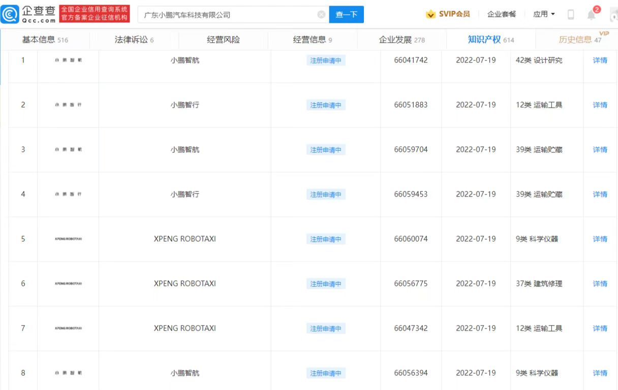
小鹏注册自动驾驶出租车商标
2022-08-02 09:34:06

分享

三言财经 8月2日消息,企查查APP显示,近日,广东小鹏汽车科技有限公司注册多枚“XPENG ROBOTAXI”“小鹏智航”“小鹏智行”等商标,国际分类涉及运输工具、运输贮藏、设计研究等。此前,小鹏汽车董事长何小鹏表示,小鹏汽车将在2022年下半年推出Robotaxi业务,并将首先在广州试运行。


image.png

image.png