取消
加载中...
联想汽车商标曾遭抢注
2022-08-10 16:37:49

分享

三言财经 8月10日消息,8月10日,杨元庆回应“联想招聘汽车人才”称,联想没有造车计划,招人只是为了做前瞻性研究。


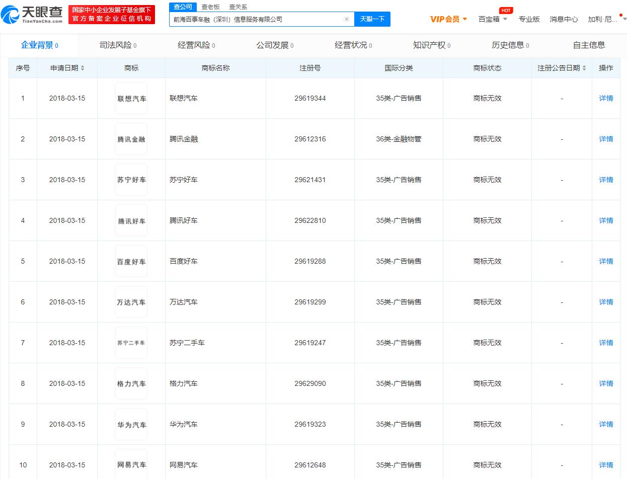
天眼查App显示,“联想汽车”商标曾于2018年3月被深圳某信息服务公司抢注,之后被驳回,该商标国际分类为广告销售类,当前状态为无效。


WechatIMG13400.jpeg


值得一提的是,该公司共申请注册20余枚大厂汽车商标,包括“腾讯二手车”“百度二手车”“华为汽车”“恒大汽车”“格力汽车”“网易汽车”等,商标均申请于2017年9月至2018年3月,目前除少数商标还在等待受理外,其余商标均已无效。


WechatIMG13399.jpeg