取消
加载中...
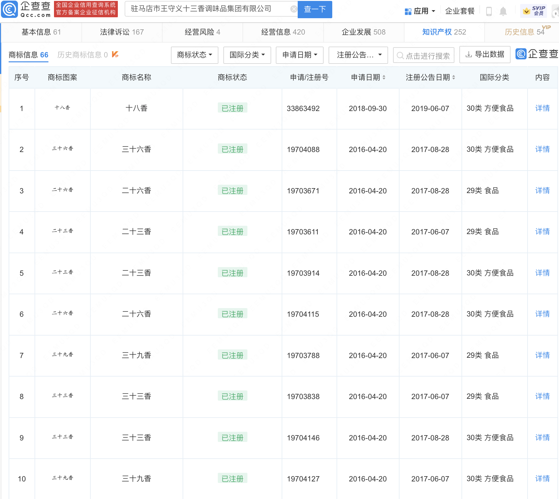
王守义十四香商标已注册
2022-09-08 11:10:01

分享

三言财经 9月8日消息,苹果2022 秋季新品发布会于今日凌晨召开,#iPhone14# 系列共有四款新机在发布会上亮相,随后 #官网下架iPhone13Pro系列# 。企查查APP显示,“十四香”商标早在2002年被王守义注册,申请人为驻马店市王守义十三香调味品集团有限公司,国际分类为方便食品,另外网友还发现王守义甚至注册了“三十九香”的商标。


001.png

002.png