取消
加载中...
开课吧及法定代表人被限制消费
2022-09-14 16:28:42

分享

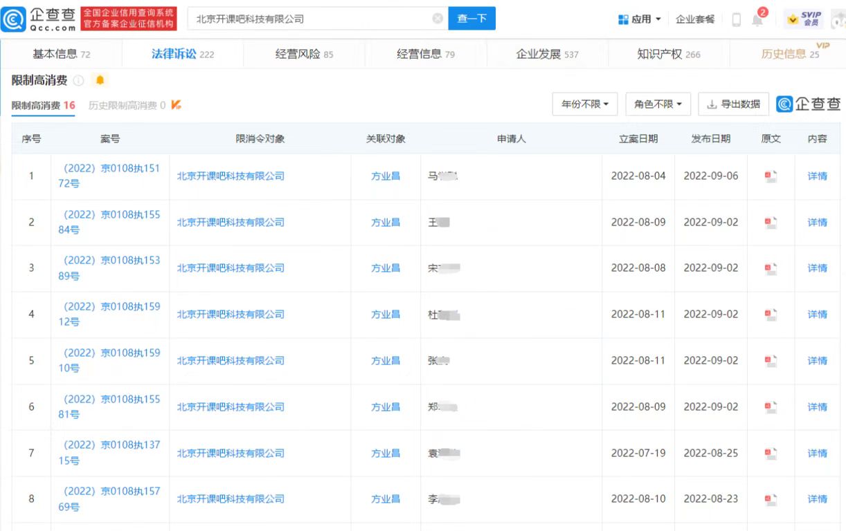
三言财经 9月14日消息,此前开课吧被指诱导买课、退费难,回应称资金链断裂无法处理。企查查APP显示,近日,北京开课吧科技有限公司因未按执行通知书指定的期间履行生效法律文书确定的给付义务,该公司及其法定代表人被限制高消费。目前,该公司被限制高消费共计16次,被执行总金额近百万元。


51e76ed6f4a073cda35abb89a5634b2.jpg

e014b9117c7ed800b70ba36f3b646cd.jpg