取消
加载中...
东风汽车申请注册纳米系列商标
2022-11-30 15:13:56

分享

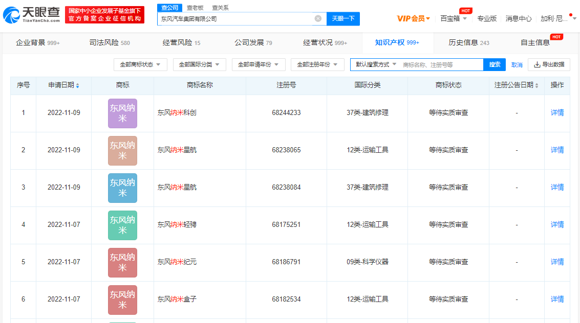
天眼查App显示,近日,东风汽车集团有限公司申请注册多枚纳米相关商标,包括“东风纳米科创”“东风纳米星航”“东风纳米轻骋”“东风纳米纪元”“东风纳米空间”等,国际分类涉及建筑修理、运输工具、科学仪器等,当前商标状态均为等待实质审查。此前,该公司还申请多枚“东风纳米”商标,当前商标状态为申请中。


微信图片_20221130151316.png


据悉,今年7月,东风纳米BOX上市,为东风EV新能源旗下纯电小SUV车型。