取消
加载中...
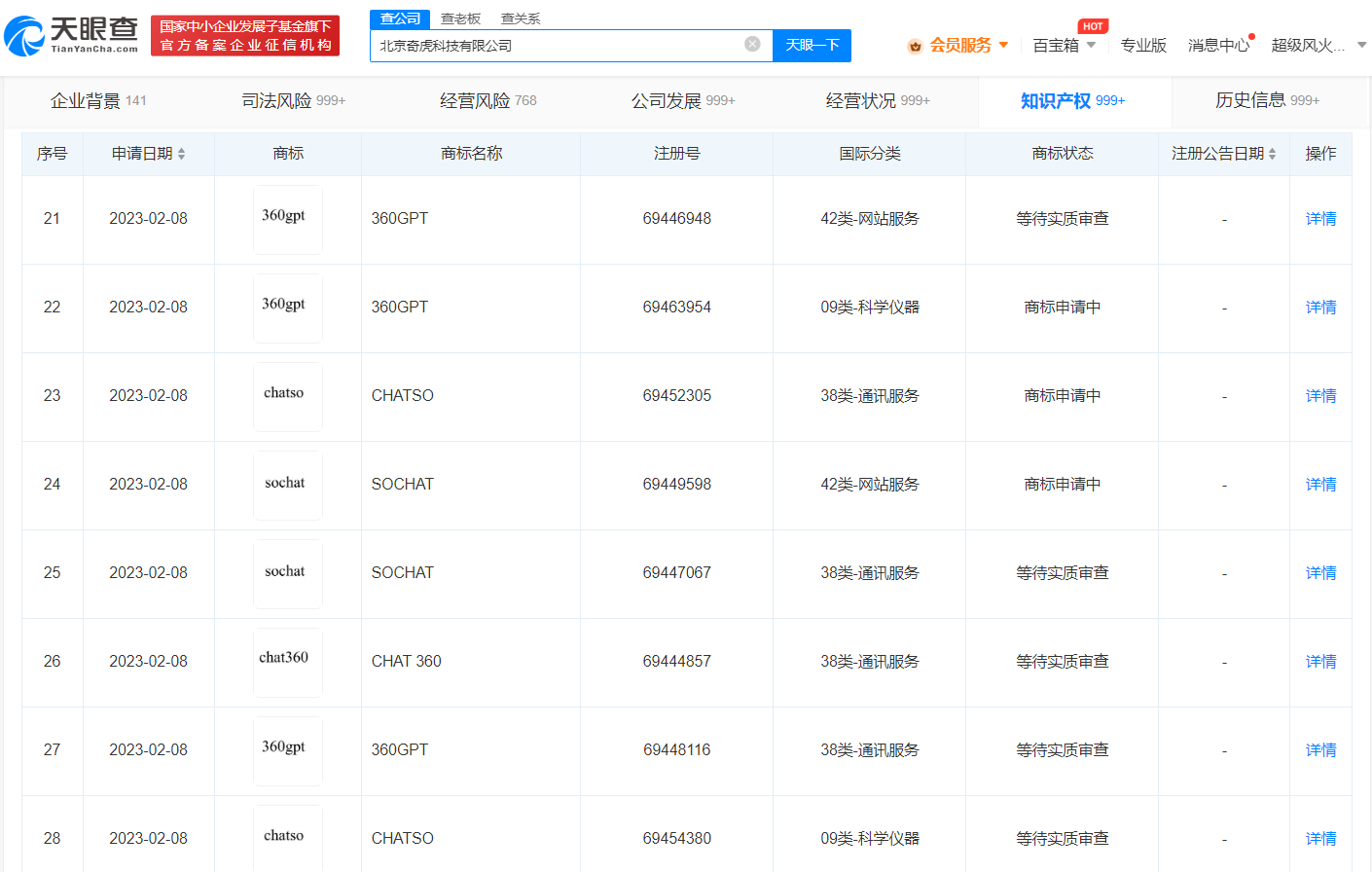
360申请CHAT360商标
2023-04-21 13:11:21

分享

天眼查App显示,近日,北京奇虎科技有限公司申请注册多枚“360AI”“360 智脑”“CHAT360”“360GPT”等商标,国际分类涉及科学仪器、网站服务、通讯服务等,当前商标状态均为申请中或等待实质审查。


微信图片_20230421131011.png