取消
加载中...
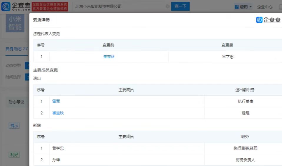
雷军退出小米智能科技公司
2023-04-23 20:28:40

分享

企查查APP显示,近日,北京小米智能科技有限公司发生工商变更,雷军不再担任公司执行董事,崔宝秋卸任经理、法定代表人,新增曾学忠为法定代表人、执行董事、经理。


微信图片_20230423202816.jpg


企查查显示,北京小米智能科技有限公司成立于2018年5月,注册资本为4000万元人民币,由小米通讯技术有限公司全资控股,公司对外投资成立了北京昌数科技有限公司、北京小米机器人技术有限公司。