取消
加载中...
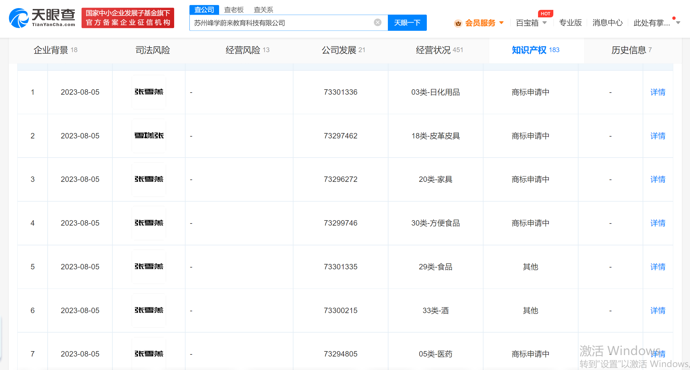
张雪峰公司申请“张雪羔”“雪糕张”商标
2023-08-15 21:29:23

分享

三言科技8月15日消息,天眼查App显示,苏州峰学蔚来教育科技有限公司申请注册多个“张雪羔”“雪糕张”商标,国际分类涉及日化用品、酒、方便食品、啤酒饮料等,当前商标状态均为申请中。


该公司成立于2021年5月,法定代表人为张子彪(张雪峰),注册资本1000万人民币,经营范围含第二类增值电信业务、出版物零售、教育咨询服务、人工智能应用软件开发、人工智能理论与算法软件开发、数字文化创意软件开发等,由张子彪、苏州研途教育科技有限公司等共同持股。