取消
加载中...
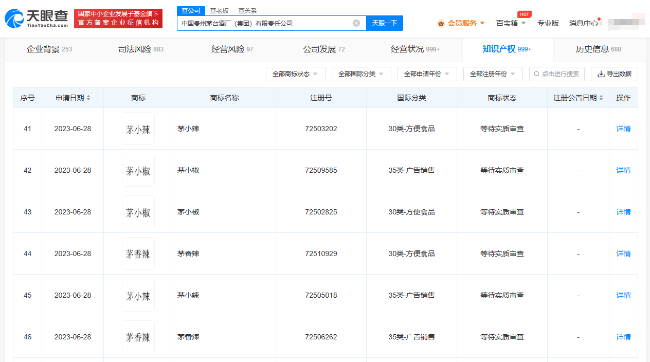
贵州茅台已申请注册“茅香辣”“茅小椒”等多个商标
2023-09-05 16:01:57

分享

三言科技 9月5日消息,天眼查App信息显示,今年6月,中国贵州茅台酒厂(集团)有限责任公司已申请注册“茅香辣”、“茅小椒”、 “茅小辣”、等多个商标,国际分类涉及方便食品、广告销售,目前商标状态为注册申请中。


1693900862178.jpg