取消
加载中...
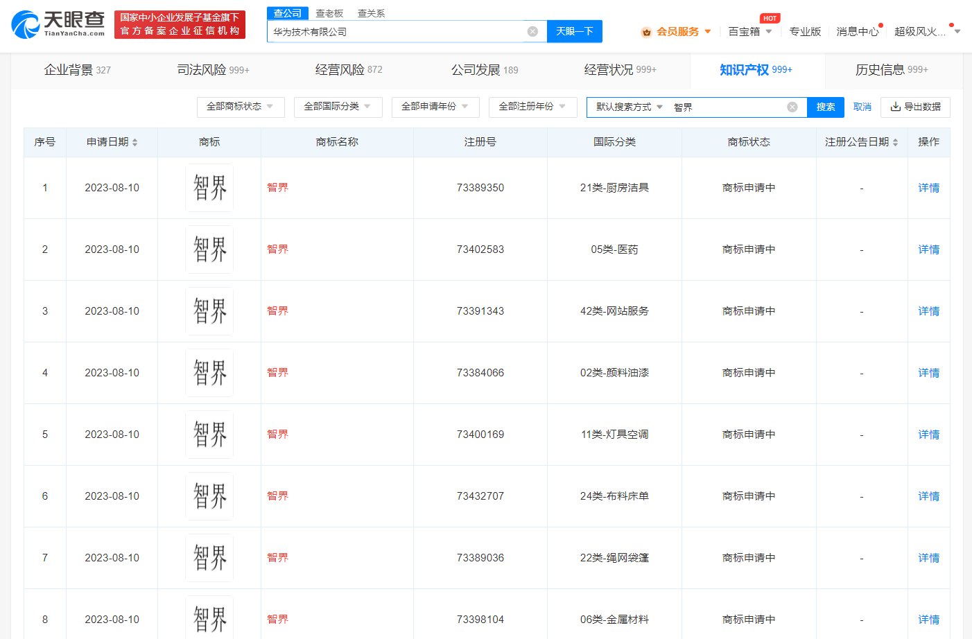
华为已申请多个智界商标
2023-11-10 14:42:18

分享

11月9日晚,华为智选车首款轿车智界S7开启预售。新车由华为与奇瑞共同打造,定位中大型纯电轿跑,将于11月28日正式发布。


微信图片_20231110144204.png


天眼查App显示,华为技术有限公司已申请注册多个“智界”商标,国际分类涉及教育娱乐、机械设备、网站服务等,当前商标状态为申请中。