取消
加载中...
苹果Vision Pro头显新专利:佩戴者可联机游戏
2023-12-02 08:48:11

分享

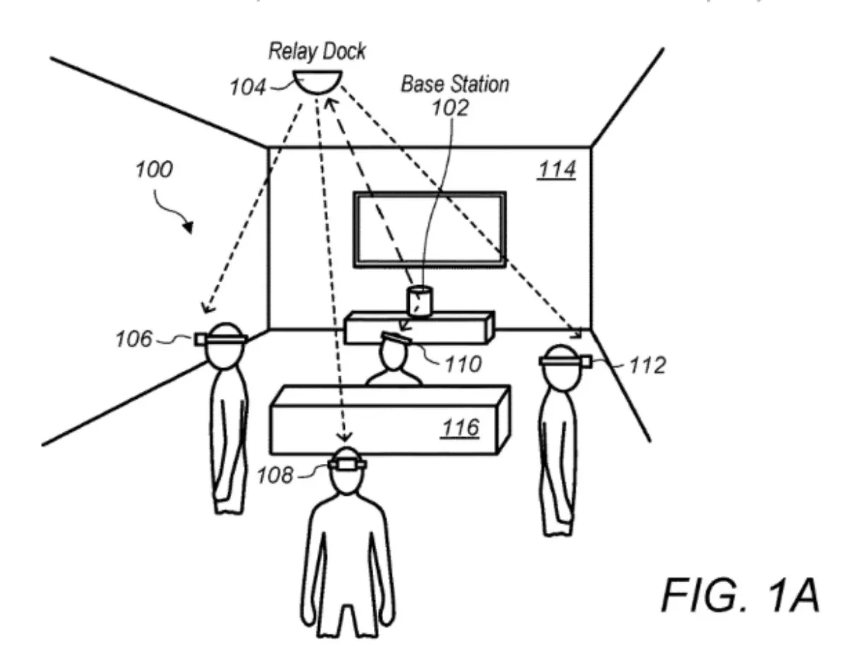
根据美国商标和专利局(USPTO)公示的清单,苹果公司获得了一项Vision Pro头显的技术专利,可以联动多台头显,从而构建卓越的联机体验。


这项技术专利名称为《基于位置信息定向波形成的中继坞站和基站》,每台Vision Pro头显配备天线阵列,可以发送和接收定向波信号,和中继坞站和基站进行通信。


微信图片_20231202084729.png

天线阵列和内置传感器可以追踪Vision Pro头显的位置和动作,让佩戴者在虚拟现实和增强现实环境中相互交互,在游戏场景下避免互相撞击的情况下,可以实现联机体验。(IT之家)