取消
加载中...
魅族已申请注册孔明AI等商标
2024-02-18 13:55:56

分享

三言科技 2月18日消息,魅族官方微博宣布将停止传统手机新项目的开发,转型“All in AI”。


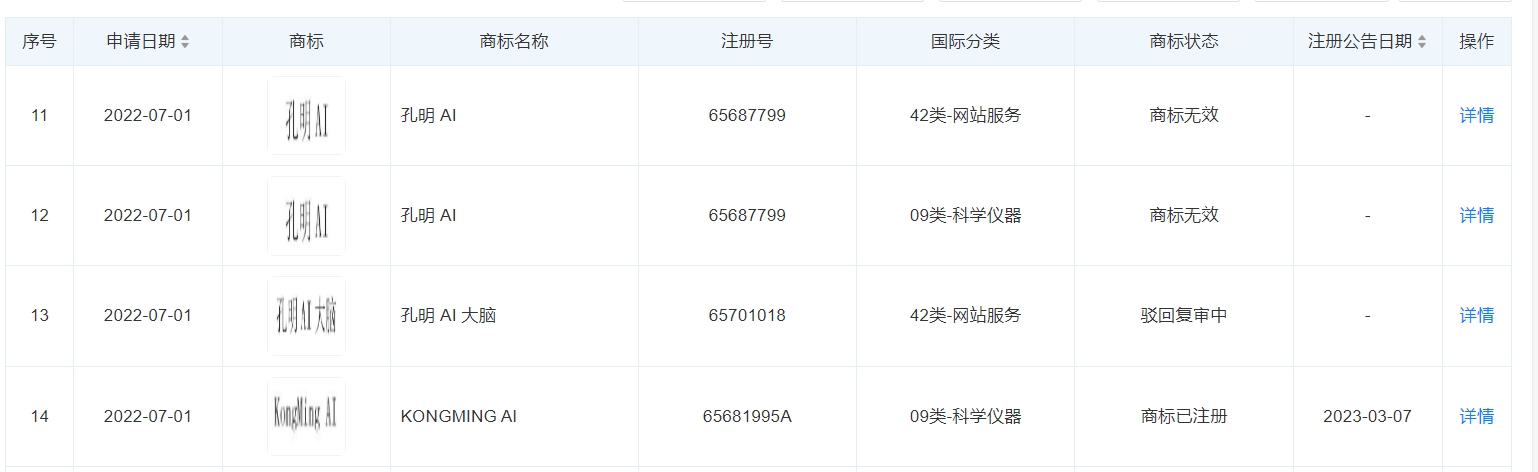
天眼查App显示,湖北星纪魅族科技有限公司已申请注册多枚“孔明 AI”“孔明AI大脑”“KONGMING AI”商标,国际分类涵盖科学仪器与网站服务,其中其中部分商标已注册成功。


微信截图_20240218135533.png