取消
加载中...
乐视旗下公司申请嬛嬛商标,目前已有4枚“甄嬛传”商标成功注册
2024-06-03 17:24:51

分享

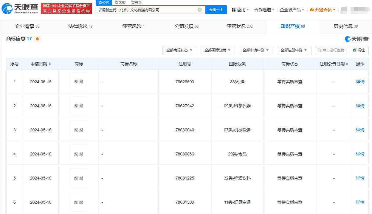
三言科技 6月3日消息,近日,乐视旗下公司乐视新生代(北京)文化传媒有限公司申请注册多枚“嬛嬛”商标,国际分类包括教育娱乐、餐饮住宿、运输工具等,当前商标状态均为等待实质审查。此外,今年2月,《甄嬛传》版权方、乐视旗下东阳花儿影视文化有限公司还成功注册教育娱乐、办公用品类“甄嬛传”商标。


1717406631628.jpg


天眼查App显示,东阳花儿影视文化有限公司曾于2014年成功注册1枚健身器材类“甄嬛传”商标,后于2022年再申请5枚(包括上述2枚),目前其中4枚已成功注册。