取消
加载中...
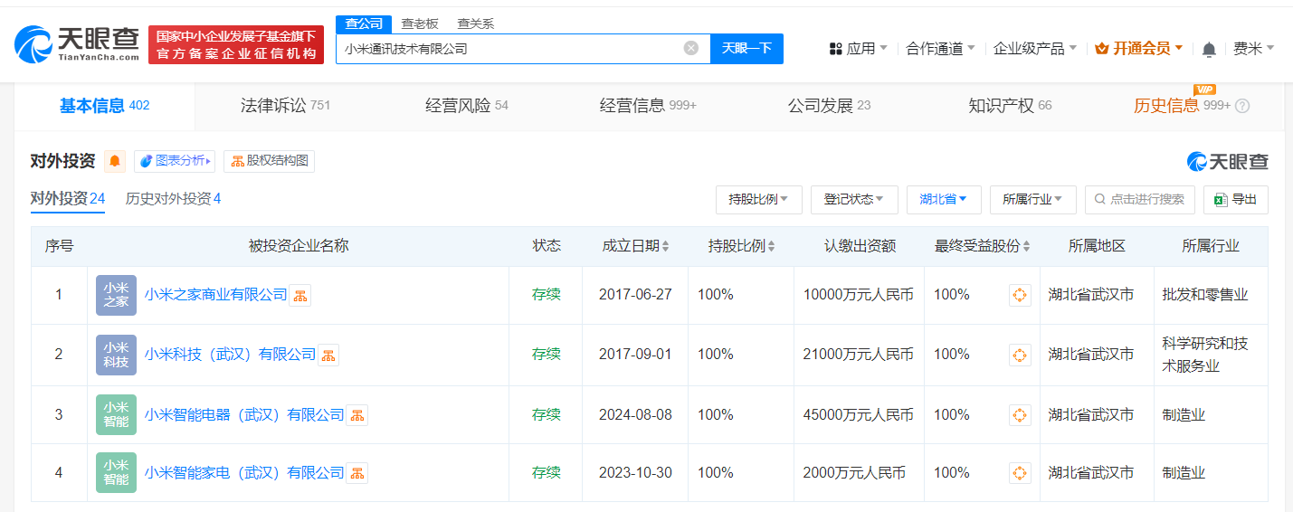
小米在武汉成立智能电器公司,注册资本4.5亿
2024-08-12 16:41:46

分享

天眼查App显示,近日,小米智能电器(武汉)有限公司成立,法定代表人为单联瑜,注册资本4.5亿人民币,经营范围含家用电器制造、家用电器研发、家用电器销售、电子产品销售、通信设备制造、通用设备修理等。股东信息显示,该公司由小米通讯技术有限公司全资持股。


微信图片_20240812164122.png


对外投资信息显示,小米通讯技术有限公司在武汉设有多家企业,除上述新公司外,还包括于2017年成立的小米之家商业有限公司、小米科技(武汉)有限公司,以及于2023年成立的小米智能家电(武汉)有限公司。