三言科技 8月26日消息,今日罗永浩发文称,到目前为止,“真还传”一共还了8.24亿,远远超出之前对外公布过的“欠债6个多亿”。新增的6个亿债务也已经悄无声息地偿还了一年多了,会在未来几年全部还完。
天眼查App显示,罗永浩关联30余家企业,其中10家为存续或开业状态,除在锤子科技(成都)股份有限公司、北京锤子数码科技有限公司、成都野望数码科技有限公司等锤子科技相关公司持股及任职外,其还持有广州盖得排行信息科技有限公司、北京大象蓝典科技有限公司,以及北京云上卓智咨询中心(有限合伙)等合伙企业股份。
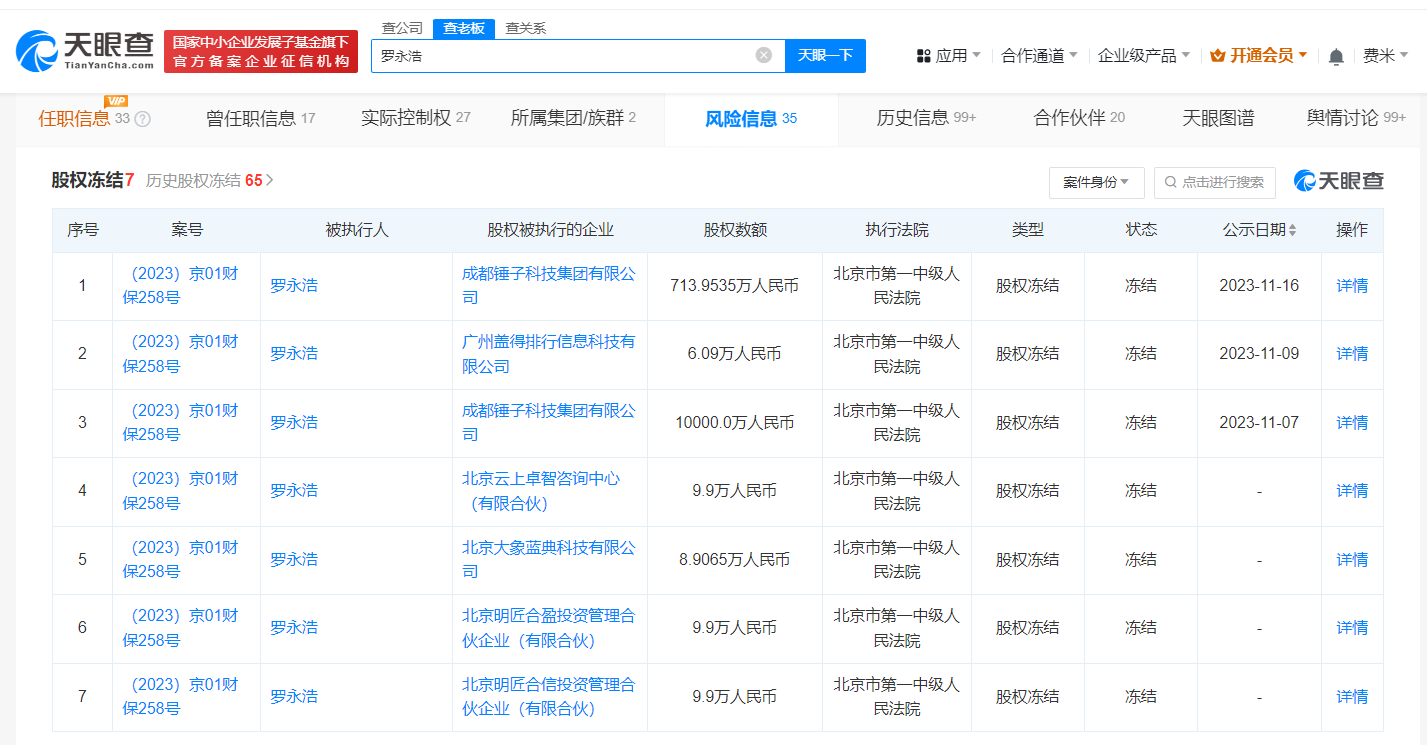
天眼风险信息显示,罗永浩及其关联公司曾多次被强制执行、限制高消费,但上述信息都已被法院撤下。目前,罗永浩名下并无执行信息及限制消费令。不过,其名下仍有一部分股权冻结信息尚未解除。

