取消
加载中...
华为“仙界”、“天界”、“君界”等汽车类商标注册成功
2024-11-21 10:41:08

分享

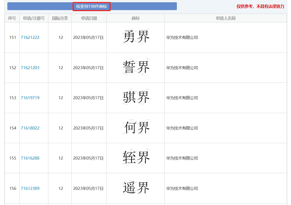
三言科技 11月21日消息,国家知识产权局商标局信息显示,华为又一批汽车类商标注册成功。


仙界、天界、君界、峥界、江界商标均申请于今年1月4日,注册公告日期为11月14日,国际分类为12,商品/服务范围包括:电动运载工具; 汽车; 汽车仪表板; 电动汽车; 混合动力汽车; 电动踏板车; 运载工具用轮胎; 摄影无人机; 运载工具用儿童安全座椅; 运载工具内装饰品。


微信截图_20241121101517.png

微信截图_20241121102117.png

微信截图_20241121102249.png微信截图_20241121102353.png

微信截图_20241121102458.png


目前,华为一共申请了近200个带“界”的商标。


微信截图_20241121103240.png