取消
加载中...
大冰已注销名下所有公司
2024-12-25 13:31:39

分享

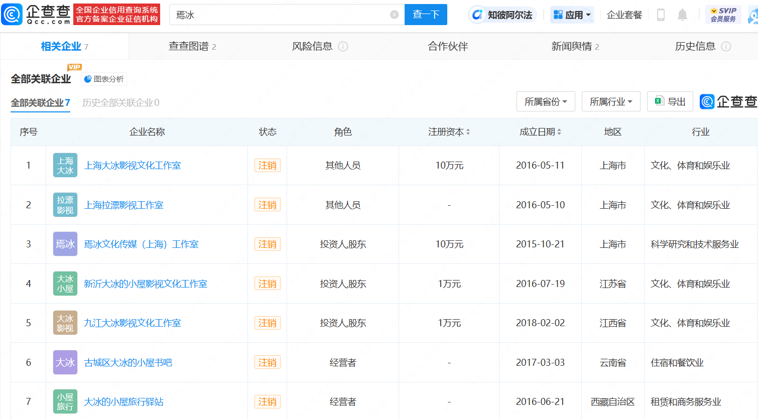
企查查APP显示,近日,由焉冰(大冰)担任投资人的焉冰文化传媒(上海)工作室发生工商变更,经营状态从存续变更为注销。企查查信息显示,焉冰名下共关联7家企业,目前状态均为注销。


微信图片_20241225133126.png