取消
加载中...
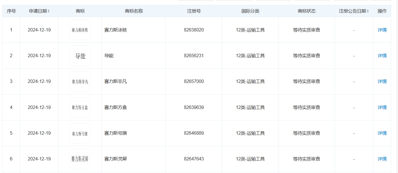
赛力斯申请“赛力斯冰核”、“赛力斯非凡”等商标
2025-01-07 14:52:12

分享

三言科技 1月7日消息,天眼查知识产权信息显示,近日,赛力斯集团股份有限公司申请注册“赛力斯非凡”“赛力斯方盒”“赛力斯号旗”“赛力斯灵犀”“赛力斯冰核”商标,国际分类均为运输工具,当前商标状态均为等待实质审查。


微信截图_20250107144603.png


该公司成立于2007年5月,法定代表人为张正萍,注册资本约14.97亿人民币,由重庆小康控股有限公司、东风汽车集团有限公司、重庆渝安汽车工业有限公司等共同持股。