取消
加载中...
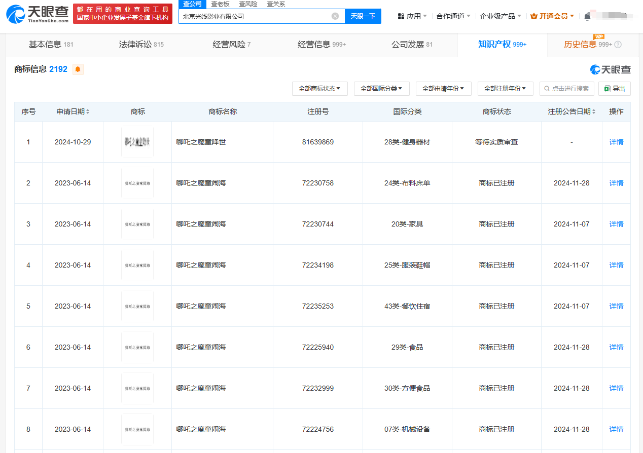
出品方已注册多枚哪吒2商标
2025-02-05 10:40:13

分享

三言科技 2月5日消息,据网络平台数据,《哪吒之魔童闹海》总票房(含点映及预售)已突破50亿元,即将追平《哪吒之魔童降世》所创造的50.35亿元票房。公开信息显示,《哪吒之魔童闹海》由光线传媒主投。


天眼查知识产权信息显示,光线传媒旗下北京光线影业有限公司已成功注册多枚“哪吒之魔童闹海”商标,国际分类涉及教育娱乐、餐饮住宿、广告销售等。此外,该公司还注册了多枚“魔童哪吒”“哪吒降世”“魔丸哪吒”“哪吒之魔童降世”商标。


1738723174671.jpg