取消
加载中...
B站申请注册B谷商标
2025-03-07 16:04:50

分享

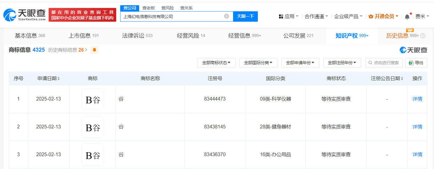
天眼查财产线索信息显示,近日,B站关联公司上海幻电信息科技有限公司申请注册多枚“B谷”商标,国际分类为办公用品、科学仪器、健身器材,当前商标状态均为等待实质审查。


微信图片_2025-03-07_160428_723.png


该公司成立于2013年5月,法定代表人为徐逸,注册资本约1099万人民币,经营范围含广告发布、企业形象策划、动漫游戏开发、专业设计服务、票务代理服务、计算机软硬件及辅助设备零售等,由陈睿、徐逸、李旎共同持股。