取消
加载中...
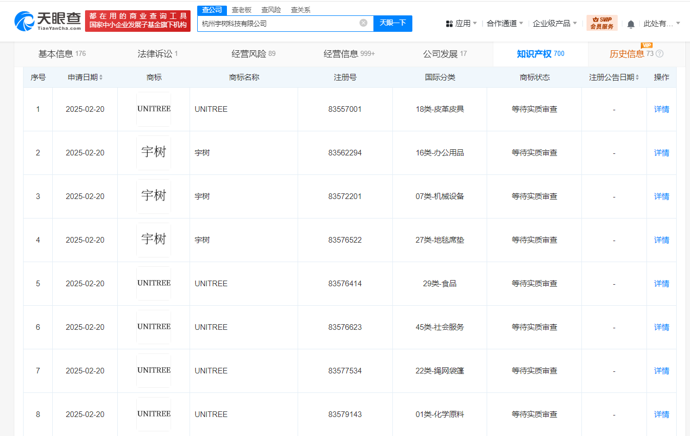
宇树科技再申请多枚中英文名称商标
2025-03-08 07:20:21

分享

天眼查知识产权信息显示,近日,杭州宇树科技有限公司申请注册多枚“宇树”“UNITREE”商标,国际分类为机械设备、颜料油漆、科学仪器等,当前商标状态均为等待实质审查。值得注意的是,此前,该公司已申请注册多枚“宇树”“UNITREE”商标,上述商标最早申请于2016年。


9dacfe000540b5878b7eb8d747df2d51.png

杭州宇树科技有限公司成立于2016年8月,法定代表人为王兴兴,注册资本约259.4万人民币。股东信息显示,该公司由王兴兴、汉海信息技术(上海)有限公司、宁波红杉科盛股权投资合伙企业(有限合伙)等共同持股。