取消
加载中...
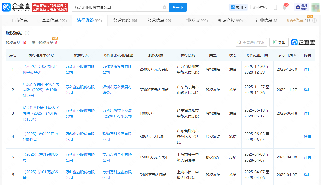
万科所持2.5亿元股权冻结
2026-01-04 12:55:50

分享

企查查APP显示,近日,万科企业股份有限公司新增一则股权冻结信息,冻结股权标的企业为万纬物流发展有限公司,冻结股权数额2.5亿人民币,冻结期限为2025年12月30日至2028年12月29日,执行法院为江苏省徐州市中级人民法院。


微信图片_20260104103150_1714_123.png