取消
加载中...
阿里巴巴收购家装公司匠多多
2019-03-18 10:02:01

分享

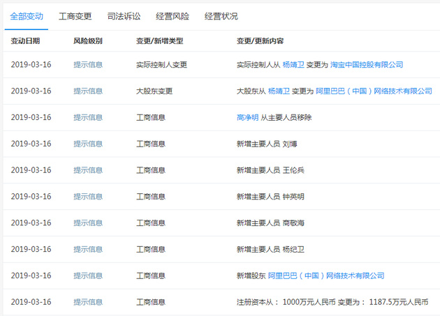
三言财经 3月18日消息,据企查查信息显示,3月14日,阿里巴巴(中国)网络技术有限公司入股河南匠多多信息科技有限公司,控股比例20%,公司实际控制人为淘宝中国控股有限公司。该企业成立于2018年8月,注册资本1187.5万元,经营范围包括装饰工程设计、灯具安装及维修、搬家服务、建筑工程施工等业务。


阿里巴巴收购家装公司匠多多