取消
加载中...
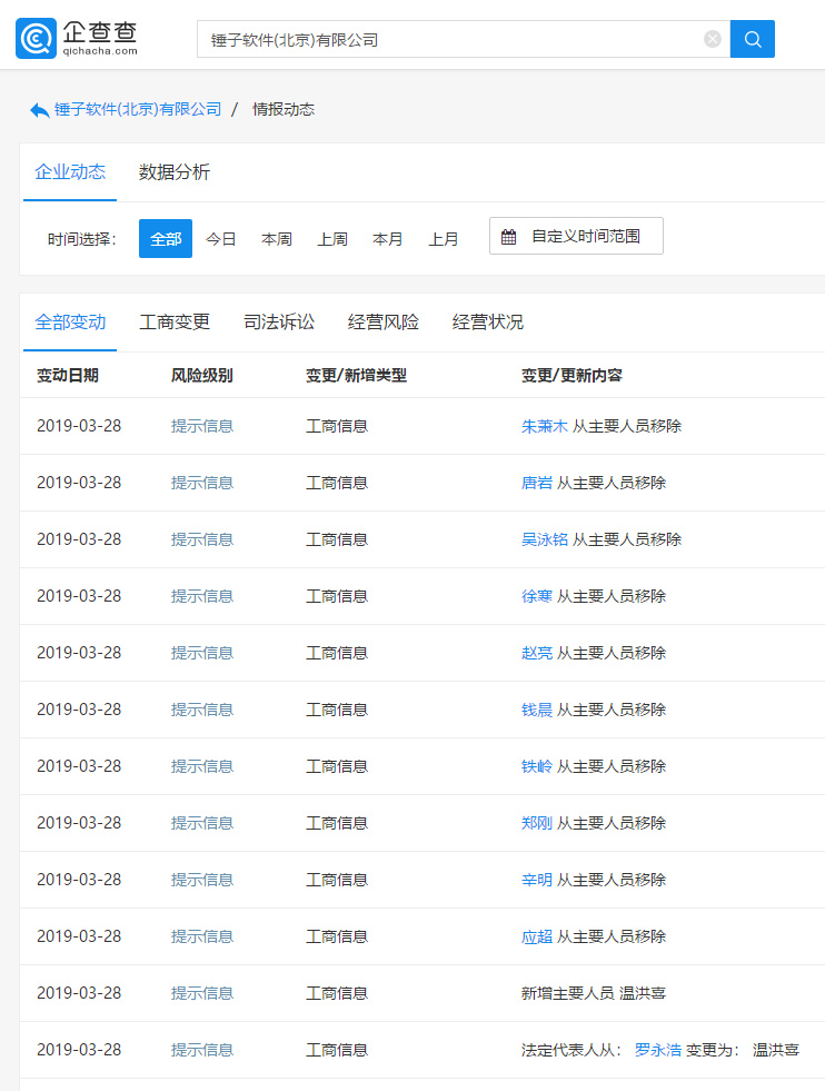
锤子软件10位高管退出,罗永浩卸任法人,温洪喜接任
2019-03-28 10:40:16

分享

4qbzh20a7wdyiyej.png!heading.jpeg

三言财经3月28日消息,企查查数据显示,近日,锤子软件(北京)有限公司发生工商变更,法定代表人从罗永浩变更为温洪喜,锤子科技CTO钱晨、陌陌CEO唐岩等10位高管从主要人员中移除。