三言财经 12月26日消息,因网络侵权责任纠纷,更美App遭多位明星起诉。
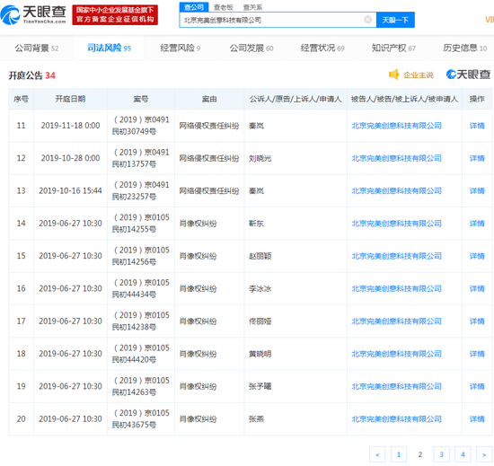
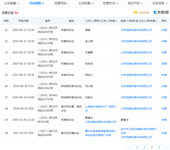
天眼查显示,互联网医美平台更美App主体公司北京完美创意科技有限公司近日遭马苏、王鸥、刘诗诗、李易峰 、张雨绮、张艺兴、王一博、秦岚等多位明星起诉,案由均为网络侵权责任纠纷。

此前,因网络侵权责任纠纷,北京完美创意科技有限公司曾被北京互联网法院一审判决赔偿冯小刚2.5万元。
今年6月,曾因网络侵权责任纠纷被冯小刚、刘晓光起诉。仅6月27日一天,胡杏儿、张柏芝、王蒙蒙、李小璐、唐嫣、张燕、张予曦、黄晓明、佟丽娅、李冰冰、赵丽颖、靳东等12位演员与北京完美创意科技有限公司的肖像权纠纷同日开庭。


北京完美创意科技有限公司成立于2013年8月,注册资本200万人民币,法定代表人为刘国庆,公司经营范围包括预防保健咨询(不含诊疗活动);医学研究(不含诊疗活动)等。
公司共有三位股东,其中大股东为公司创始人兼CEO刘迪,持股比例为82.50%,第二大股东为经纬中国的投资实体之一经纬(杭州)创业投资合伙企业(有限合伙),持股比例为15%,第三大股东为公司联合创始人兼COO王思璟,持股比例为2.50%。
据其官网介绍,更美App是专业微整形平台,已入驻8000家正规医美机构和20000名执业医生,平台上累积400万份真人整形案例,覆盖全球300多个城市、5大海外国家和地区,帮助3600万用户不断变美。