取消
加载中...
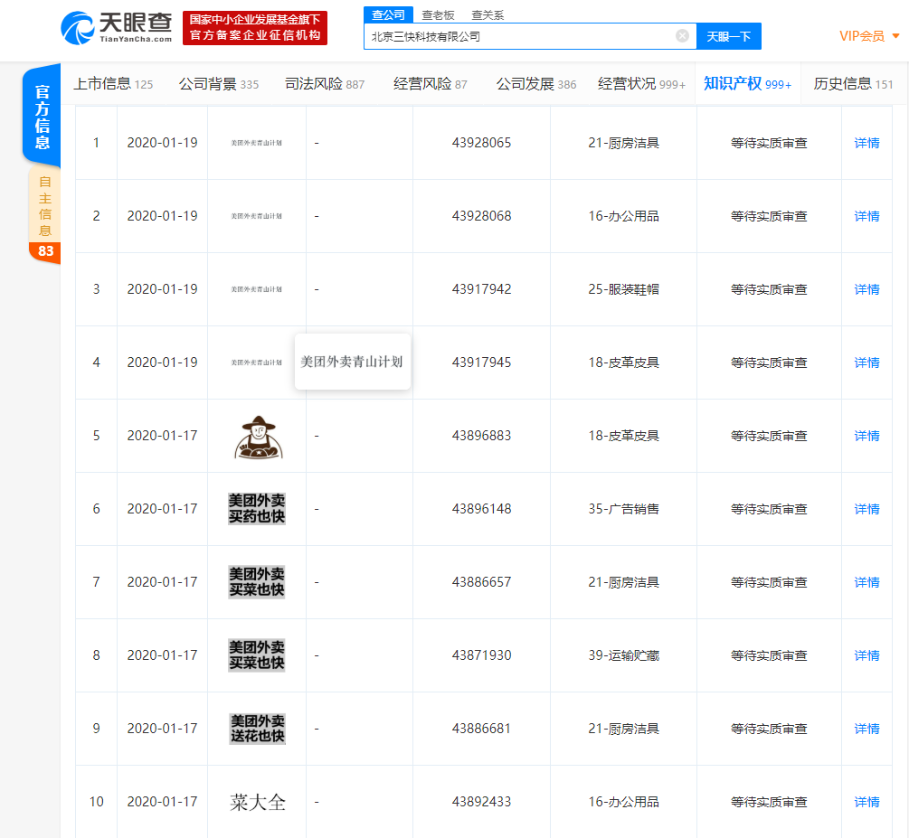
美团新增注册“美团外卖买菜也快”等多个生鲜商标
2020-02-17 09:29:56

分享

v2_23d1233e6fb14fc08541d31c0b1c2aed_img_png.png

三言财经2月17日消息,天眼查数据显示,近日,美团的运营主体北京三快科技有限公司新增多个生鲜商标注册信息,包含“美团外卖买菜也快”“菜大全”“美团外卖青山计划”等商标在近期多次申请,目前显示多个系列商标还在等待实质审查中。此外,美团还申请了“美团外卖送花也快”“美团外卖买药也快”等商标。