取消
加载中...
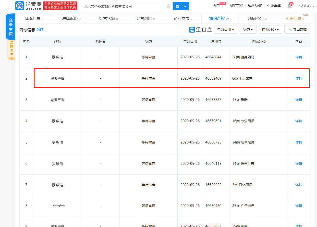
罗永浩注册“老罗严选”商标,或推出电商APP
2020-06-12 15:31:47

分享

三言财经 6月12日消息,企查查显示,2020年5月26日北京交个朋友数码科技有限公司新增多条商标注册申请,其中包含罗咏浩、luoyonghao、老罗严选等,2020年至今该公司共申请注册268个商标。


image.png