取消
加载中...
苹果可折叠iPhone专利曝光:柔性屏幕设计独特
2020-07-06 08:50:56

分享

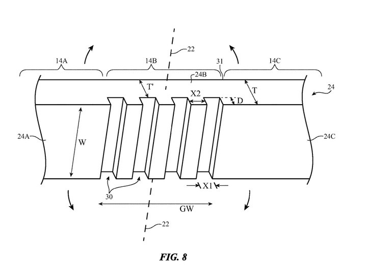
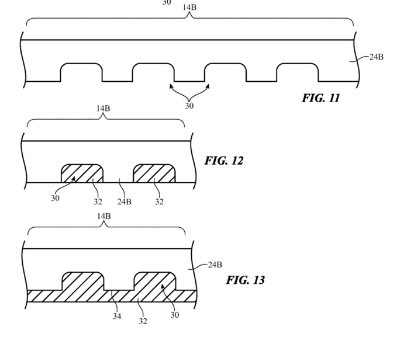
三言财经 7月6日消息,据外媒报道,近日一项苹果最新可折叠 iPhone 专利曝光:其采用了一种十分独特的柔性屏幕设计来解决折叠问题。

  

苹果公司计划在玻璃内部切出一系列凹槽,这将使玻璃拥有高度灵活性,这一过程在木材中称为刻缝,同时这些凹槽被用与玻璃具有相同折射率的弹性体聚合物或流体所填充,而显示屏的其余部分将是正常的。