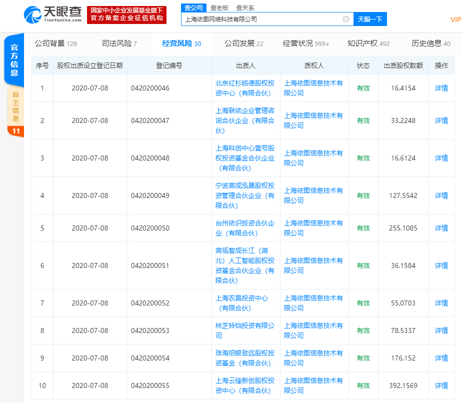
三言财经 7月10日消息,天眼查数据显示,近日,上海依图网络科技有限公司新增20条股权出质信息,出质人包括北京红杉铭德股权投资中心(有限合伙)、高瓴智成长江(湖北)人工智能股权投资基金合伙企业(有限合伙)等20位股东,质权人为上海依图信息技术有限公司,后者由YITU (HK) LIMITED全资持股。

值得一提的是,2018年6月,上海依图网络科技有限公司的最大股东朱珑和第二大股东林晨曦就已出质股权。
据投中网2019年9月的报道,据彭博社报道,人工智能初创公司依图科技寻求在中国科创板上市。在此前,依图科技就向媒体透露过其上市的意图。但当时,依图表示对科创板处于观望的状态,并不急于上市。
天眼查数据显示,上海依图网络科技有限公司成立于2012年9月,注册资本约4669.9万人民币,法定代表人为倪浩,公司经营范围包括电子设备、新型电子元器件、图形图像识别和处理系统的设计,网络科技领域内的技术开发、技术服务、技术咨询、技术转让等。目前,该公司的股东包括云锋基金、高瓴资本、红杉资本等。