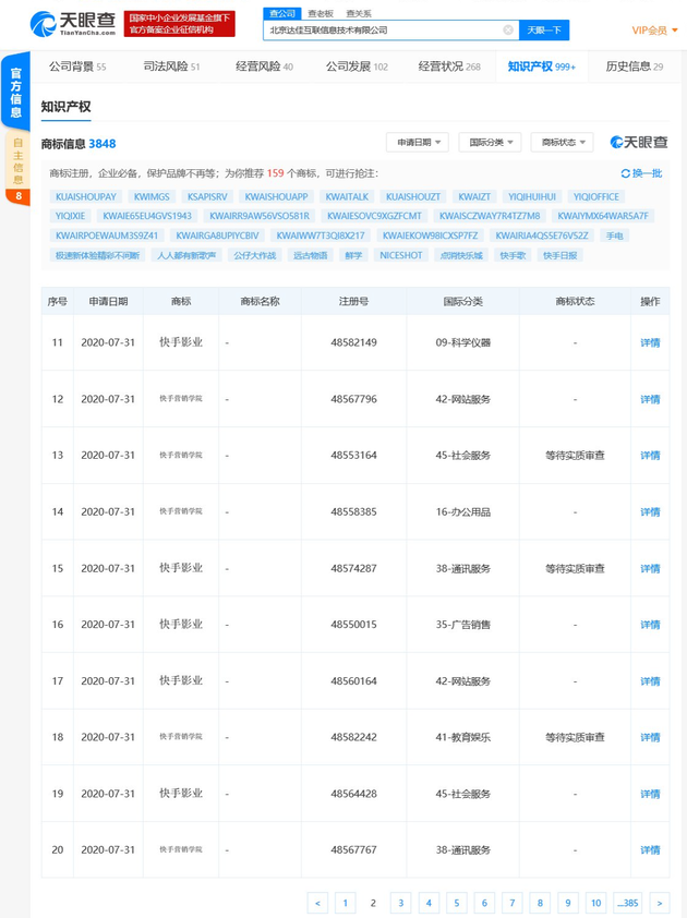
三言财经 8月19日消息,天眼查显示,近日,快手关联公司北京达佳互联信息技术有限公司新增多条商标信息,其中包括“快手影业”相关商标,申请日期均在2020年7月,国际分类涉及通讯服务、网站服务、广告销售、社会服务等。

北京达佳互联信息技术有限公司成立于2014年7月,注册资本20亿美元,法定代表人为快手联合创始人杨远熙,经营范围包括计算机软硬件、网络技术、通信技术的技术开发、技术推广、技术转让、技术咨询、技术服务等,由福永环球有限公司全资控股。
值得注意的是,天眼查显示,2019年9月,北京快手科技有限公司的经营范围出现变更,新增电影发行、电影制作,2019年12月,该公司经营范围再度新增演出经纪。