取消
加载中...
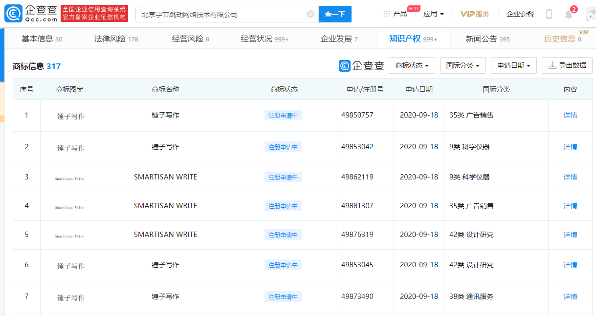
字节跳动申请注册多项“锤子写作”商标
2020-09-29 12:54:22

分享

三言财经 9月29日消息,企查查APP显示,近日,北京字节跳动网络技术有限公司申请注册多件“锤子写作”商标,国际分类分属“35-广告销售”、“9-科学仪器”、“42-设计研究”及“38-通讯服务”等,目前状态为注册申请中。


WechatIMG147.png