取消
加载中...
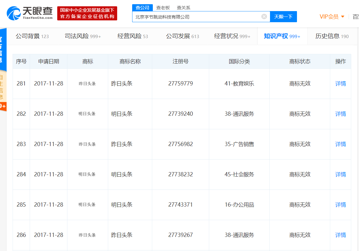
今日头条申请明日头条、昨日头条商标被拒
2020-10-17 15:01:40

分享

三言财经 10月17日消息,据新浪财经报道,近日,今日头条起诉今日油条商标侵权。据天眼查APP显示,除了今日头条,北京字节跳动科技有限公司曾于2013年申请注册“每日头条”商标,目前多品类商标为已注册。随后2017年申请注册“明日头条”、“昨日头条”商标,后被宣告商标无效。


1602917841(1).jpg