取消
加载中...
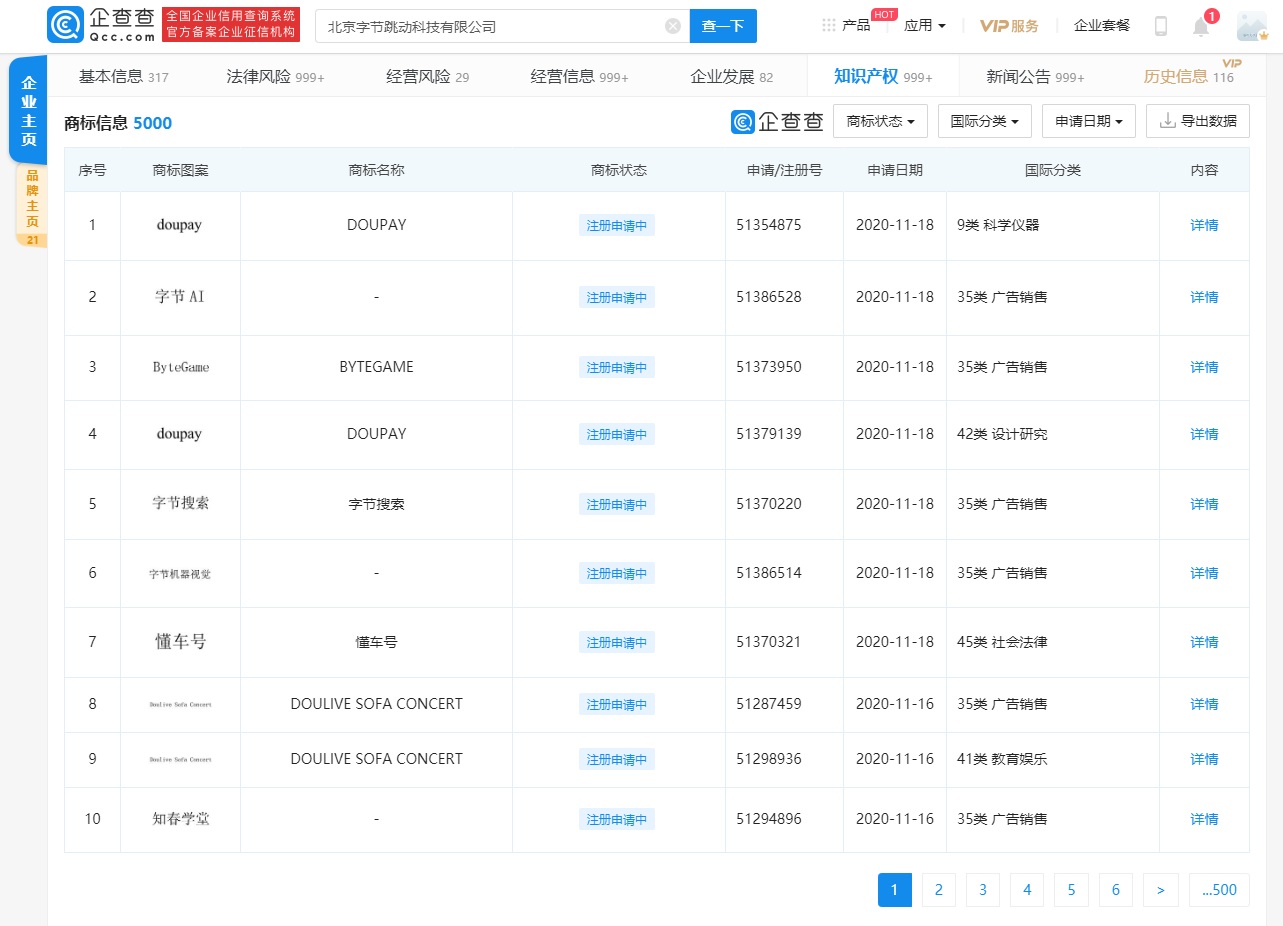
字节跳动申请“doupay”商标:已拿下 4 张金融牌照
2020-11-25 11:32:07

分享

三言财经 11月25日消息,企查查App显示,字节跳动于11月18日申请了 “doupay”商标,核准注册在9 类科学仪器、42类设计研究中。此前,字节跳动成功从武汉合众易宝科技有限公司手中拿到支付牌照,至此,字节跳动已有 4 张金融牌照在手。


image.png

image.png